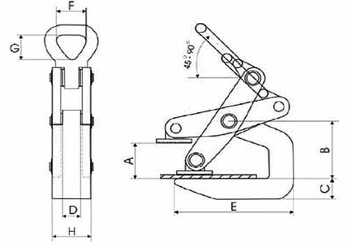
Uchwyt UBP S/R przeznaczony jest do transportu pojedynczych sztywnych blach, pakietów związanych blach lub płyt stalowych. Dźwignia zaciskająca może być wyposażona w stopkę lub rolkę. Uchwytów tego typu nie należy stosować do cienkich wyginających się blach. Kąt między cięgnami zawiesia wyposażonego w uchwyt nie powinien przekraczać 60°. Udźwig podany jest dla jednej sztuki. Uchwyt produkujemy w kilku wariantach dostępnych w tabeli. Prosimy o informację, czy uchwyt ma mieć stopkę czy rolkę.
Właściwości produktu:
| Typ | DOR | A | B | C | D | E | F | G | H | Masa |
| kg | mm | mm | mm | mm | mm | mm | mm | mm | kg | |
| UBP S/R-1,5 | 1500 | 5-60 | 115 | 40 | 26 | 190 | 54 | 100 | 50 | 8.9 |
| UBP S/R3,2 | 3200 | 10-90 | 185 | 60 | 36 | 290 | 84 | 160 | 70 | 34.4 |
| UBP S/R-5 | 5000 | 10-110 | 266 | 100 | 40 | 450 | 120 | 220 | 70 | 97.0 |
Zdjęcia produktu:





