W sekcji akcesoria dla zawiesi pasowych posiadamy w ofercie specjalistyczne produkty. Oferujemy dodatkowe ogniwa ED oraz sprzedawane pojedynczo lub w zestawach ogniwa KLO i KLOL klasy 8. Dysponujemy też złączkami do zawiesi pasowych i wężowych oraz osłonami poliuretanowymi i osłonami PVC. Wszystkie sprzedawane przez nas dodatki do produktów są wytrzymałe i wykonane z materiałów najwyższej jakości.
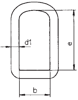
Ogniwo ED kl. 8:


| KOD | Szerokość pasa (mm) | WLL [t] | e mm | b mm | d1 mm | kg/szt |
| ED 40 | 30 | 1,0 | 80 | 40 | 13 | 0,3 |
| ED 75 | 60 | 2,0 | 125 | 75 | 16 | 0,7 |
| ED 105 | 90 | 3,0 | 165 | 105 | 20 | 1,5 |
| ED 135 | 120 | 4,0 | 210 | 135 | 23 | 2,5 |
| ED 165 | 150 | 5,0 | 245 | 165 | 26 | 3,8 |
| ED 195 | 180 | 6,0 | 300 | 195 | 30 | 6,1 |
| ED 265 | 240 | 8,0 | 395 | 265 | 36 | 11,7 |
Ogniwo główne KLO kl.8 :

| KOD | WLL [t] | D mm | W mm | L mm | kg/szt |
| KLO160 | 1,6 | 14 | 60 | 110 | 0,34 |
| KLO212 | 2,12 | 16 | 60 | 110 | 0,53 |
| KLO315 | 3,15 | 18 | 75 | 135 | 0,83 |
| KLO530 | 5,3 | 22 | 90 | 160 | 1,5 |
| KLO800 | 8,0 | 26 | 100 | 180 | 2,32 |
| KLO1120 | 11,2 | 32 | 110 | 200 | 3,95 |
| KLO1400 | 14,0 | 36 | 140 | 260 | 6,34 |
| KLO1700 | 17,0 | 40 | 160 | 300 | 8,96 |
| KLO2120 | 21,2 | 45 | 180 | 340 | 12,8 |
| KLO3150 | 31,5 | 50 | 190 | 350 | 16,55 |
| KLO4500 | 45,0 | 56 | 200 | 400 | 23,28 |
| KLO5600 | 56,0 | 63 | 220 | 430 | 32 |
Zestaw ogniwowy do zawiesi linowych i pasowych KLOL kl. 8


| KOD | Rozmiar | WLL [t] 4:1 | WLL [t] 5:1 | D mm | W mm | L mm | d mm | l mm | w mm | kg/szt |
| KLOL240 | 14 | 2.4 | 2 | 14 | 60 | 100 | 12 | 85 | 40 | 0.82 |
| KLOL320 | 17 | 3.2 | 2.5 | 18 | 90 | 160 | 14 | 100 | 60 | 1.61 |
| KLOL5000 | 20 | 5 | 4 | 20 | 90 | 160 | 14 | 100 | 60 | 1.95 |
| KLOL8000 | 22 | 8 | 6.4 | 22 | 100 | 180 | 18 | 150 | 70 | 3.16 |
| KLOL1200 | 28 | 12 | 9.6 | 28 | 140 | 270 | 22 | 160 | 90 | 6.75 |
| KLOL1740 | 32 | 17.4 | 13.9 | 32 | 140 | 270 | 25 | 180 | 100 | 9.31 |
Złączka zawiesi pasowych KZP kl.8:

| KOD | Rozm | WLL [t] | D mm | A mm | K mm | W mm | kg / szt |
| KZP112 | 6 | 1,12 | 108 | 22 | 24 | 20 | 0,34 |
| KZP200 | 7/8 | 2,0 | 133 | 26 | 30 | 25 | 0,53 |
| KZP315 | 10 | 3,15 | 167 | 36 | 34 | 38 | 0,83 |
| KZP530 | 13 | 5,3 | 213 | 47 | 39 | 43 | 1,5 |
| KZP800 | 16 | 8,0 | 255 | 48 | 46 | 50 | 2,32 |
| KZP1250 | 20 | 12,5 | 305 | 59 | 40 | 62 | 3,95 |
Hak z uchem kl.8

| KOD | Rozm | WLL [t] | E mm | H mm | G mm | B mm | D mm | kg / szt |
| KLOH112 | 6 | 1,12 | 108 | 22 | 24 | 20 | 9 | 0,34 |
| KLOH200 | 7/8 | 2,0 | 133 | 26 | 30 | 25 | 11 | 0,53 |
| KLOH315 | 10 | 3,15 | 167 | 36 | 34 | 38 | 15 | 0,83 |
| KLOH530 | 13 | 5,3 | 213 | 47 | 39 | 43 | 19 | 1,5 |
| KLOH800 | 16 | 8,0 | 255 | 48 | 46 | 50 | 23 | 2,32 |
| KLOH1250 | 20 | 12,5 | 305 | 59 | 40 | 62 | 24 | 3,95 |
| KLOH1500 | 22 | 15,0 | 348,0 | 77 | 71 | 62 | 32 | 12,8 |
Hak bezpieczny z uchem kl.8

| KOD | Rozm | WLL [t] | A mm | L mm | D mm | H mm | E mm | kg / szt |
| KHBO112 | 6 | 1,12 | 22 | 110,5 | 10 | 19,5 | 28 | 0,5 |
| KHOB200 | 7/8 | 2,0 | 25 | 136 | 12 | 24 | 34 | 0,8 |
| KHOB315 | 10 | 3,15 | 32 | 171 | 15 | 28,5 | 44 | 1,55 |
| KHOB530 | 13 | 5,3 | 40,5 | 208,5 | 19,5 | 40 | 52 | 3,2 |
| KHOB800 | 16 | 8,0 | 56 | 257,5 | 22 | 50,5 | 60 | 5,74 |
| KHOB1250 | 20 | 12,5 | 64,5 | 275 | 27 | 55 | 81 | 8,5 |
| KHOB1500 | 22 | 15,0 | 70 | 320 | 30 | 67 | 82,0 | 13 |
| KHOB21210 | 26 | 21,2 | 80 | 363 | 34 | 75 | 110 | 18 |
| KHOB3150 | 32 | 31,5 | 105 | 472 | 45 | 97 | 168 | 44,5 |




