Uchwyt BP służy do transportu beczek stalowych w pozycji stojącej. Ułatwia układanie beczek blisko siebie, dzięki czemu sprawdza się przy paletowaniu. Ma bardzo prostą metodę działania opartą o chwyt za rant beczki jednocześnie podtrzymując ją z boku. Dostępny jest w wersji dla DOR 500kg.
Właściwości produktu:
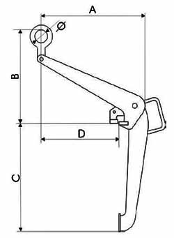
| TYP | DOR | A | B | C | D | Ø | Waga |
| kg | mm | mm | mm | mm | mm | kg | |
| BP-0,5 | 500.0 | 476 | 336 | 470 | 297 | 50 | 7.8 |
Zdjęcia produktu:





