Uchwyt KNEW jest solidnym i niezawodnym chwytakiem przeznaczonym do podnoszenia elementów przez otwór. Zbudowany jest w oparciu o międzynarodowe normy dotyczące produkcji elementów nośnych.
Właściwości produktu:
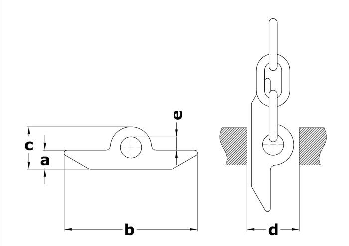
| KOD | WLL [t] | e mm | a mm | b mm | c Mm | d min mm | d max mm |
| KNEW 8 | 2,5 | 10 | 17 | 120 | 38 | 40 | 60 |
Zdjęcia produktu:




