Innowacja typu Z410 – wózek jednobelkowy jest wyposażony w zderzaki bezpieczeństwa.
Przeznaczenie:
Jako wózki z ręcznie sterowanym przejazdem do zawieszania urządzeń dźwigowych BRANO, ewentualnie urządzeń dźwigowych innych marek o odpowiedniej nośności
Służy do przemieszczania ciężarów w strefie toru wciągnika
- jako część serwisowych urządzeń dźwigowych do prac montażowych i konserwacyjnych w urządzeniach technologicznych wszelkiego rodzaju
- możliwość wykorzystania również w środowisku z niebezpieczeństwem wybuchu (oznaczenie NEXP)
Własności:
- prosta konstrukcja, łatwe dostosowanie wózka do szerokości torowiska wciągnika
- łatwa obsługa
- minimalne wymagania dotyczące konserwacji
Wózek jednobelkowy jest przeznaczony do jazdy po poziomym torze wciągnika.
Może również przejeżdżać po profilach ze skośnym kołnierzem (walcowane profile „ I“), oraz po profilach z płaskim kołnierzem (profile typu „ IPE, HEA, HEB, HEM „)
Wózek jest standardowo produkowany z podstawową wysokością podnoszenia 3m. Możliwość wyboru wysokości od 3m do 12m.
Nowość: uzupełnienie typu Z420-C – rozszerzenie zastosowania na większe szerokości kołnierza belki.
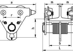
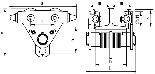
| Typ | Nośność | Wymiary główne (mm) | Belka (I, IPE, HEA, HEB, HEM) | |||||||||
|---|---|---|---|---|---|---|---|---|---|---|---|---|
| a | h | L | v | d1 | r | k | m | n | b | R | ||
| Z420-A | 1 nieodpowiednie do profilu HEM | 245 | 100 | 178 | 209 | 55 | 87 | 95 | 52-80 | 99-126 | 50-113 | 1000 |
| Z420-B | 245 | 100 | 286 | 209 | 55 | 87 | 95 | 52-134 | 99-180 | 50-226 (IPE, HEA, HEB) 50-143 (I – skośny kołnierz) | 1000 | |
| Z420-C | 245 | 100 | 372 | 209 | 55 | 87 | 95 | 90-177 | 136-223 | 125-300 (IPE, HEA, HEB) 125-143 (I – skośny kołnierz) | 1000 | |
| Z420R-A | 245 | 100 | 178 | 177 | 55 | 87 | 63 | 52-80 | – | 50-113 | 1000 | |
| Z420R-B | 245 | 100 | 286 | 177 | 56 | 87 | 63 | 52-134 | – | 50-226 (IPE, HEA, HEB) 50-143 (I – skośny kołnierz) | 1000 | |
| Z420-A | 1,6 | 350 | 121,5 | 212 | 269 | 100 | 140 | 136 | 80-91 | 168-175 | 58-113 | 1700 |
| Z420-B | 350 | 121,5 | 324 | 269 | 100 | 140 | 136 | 80-145 | 168-230 | 58-226 | 1700 | |
| Z420-C | 350 | 121,5 | 396 | 269 | 100 | 140 | 136 | 129-181 | 214-266 | 137-300 | 1700 | |
| Z420-A | 3,2 | 435 | 134 | 239 | 309 | 133 | 170 | 162 | 86-97 | 178-189 | 82-125 | 2500 |
| Z420-B | 435 | 134 | 340 | 309 | 133 | 170 | 162 | 86-146 | 178-238 | 82-226 | 2500 | |
| Z420-C | 435 | 134 | 414 | 309 | 133 | 170 | 162 | 113-183 | 205-275 | 160-300 | 2500 | |
| Z420-A | 5 | 505 | 149 | 275 | 391 | 148 | 218 | 227 | 101-116 | 199-214 | 90-137 | 2800 |
| Z420-B | 505 | 149 | 364 | 391 | 148 | 218 | 227 | 101-162 | 199-260 | 90-226 | 2800 | |
| Z420-C | 505 | 149 | 436 | 391 | 148 | 218 | 227 | 133-198 | 231-296 | 170-300 | 2800 | |
| Z420 | 7,5 | 685 | 248 | 415 | 432,5 | 196 | 300 | 222 | 150-186 | 294-330 | 125-185 (I) | 5000 |
| Z420-C | 685 | 248 | 518 | 432,5 | 196 | 300 | 222 | 161-238 | 301-382 | 146-300 (I) | 5000 | |
| Z420 | 10 | 765 | 278 | 448 | 503,5 | 228 | 328 | 256 | 160-193 | 306-339 | 125-185 (I) | 9000 |
| Z420-C | 765 | 278 | 552 | 503,5 | 228 | 328 | 256 | 185-245 | 331-391 | 180-300 (I) | 9000 | |
b – zakres szerokości kołnierza belki
R – minimalny promień zakrętu trasy przejazdu
Z420-A, B, C/1t
Z420R-A,B/1t
Z420-A,B,C/1,6t – 10t
| Typ | Nośność (t) | Siła sterowania do jazdy ** (N) | Prędkość przejazdu * (m/min) | Ciężar (kg) |
|---|---|---|---|---|
| Z420-A | 1 | 250 | 4,8 | 8,7 |
| Z420-B | 10,4 | |||
| Z420-C | 11,4 | |||
| Z420R-A | – | – | 6,4 | |
| Z420R-B | – | – | 78 | |
| Z420-A | 1,6 | 150 | 2,25 | 21 |
| Z420-B | 22,8 | |||
| Z420-C | 24 | |||
| Z420-A | 3,2 | 280 | 2,3 | 35,9 |
| Z420-B | 37,8 | |||
| Z420-C | 39,5 | |||
| Z420-A | 5 | 350 | 1,8 | 52,9 |
| Z420-B | 54,7 | |||
| Z420-C | 58 | |||
| Z420 | 7,5 | 500 | 5,97 | 124,2 |
| Z420-C | 128,2 | |||
| Z420 | 10 | 500 | 7,3 | 179,5 |
| Z420-C | 187 | |||
| * obliczono przy założeniu odwijania 30 m ręcznego łańcucha na minutę. Łańcuch ręczny dla wszystkich nośności Ø 4×20 ** dla wózków o nośności 3,2-10t trzeba przy obciążeniu ciężarem bliskim nośności zapewnić obsługę przez dwie osoby. | ||||







