Wciągniki typu Z100 z ręcznym napędem mechanizmu podnoszenia mają wszechstronne zastosowanie we wszelkiego rodzaju pracach montażowych, remontowych. Do podnoszenia i opuszczania ładunków.
Właściwości:
- prosta, lekka konstrukcja, opcjonalnie pojemnik na łańcuch
- łatwa obsługa i montaż
- dostosowanie wysokości manewrowania i podnoszenia do indywidualnych potrzeb użytkownika
- obrotowe haki – ładunkowy i w korpusie
- ocynkowane łańcuchy
- minimalne koszty eksploatacji
- standardowa wysokość podnoszenia 3 m , inna na zamówienie
- możliwość podwieszenia do wózka typu Z420 – spełnia wtedy funkcję wciągnika przejezdnego
- możliwość zamówienia wersji do pracy w środowisku zagrożonym wybuchem (NEXP)
- Zakres udźwigu(t): 0,25 ; 0,5 ; 1,0 ; 1,6 ; 3,2 ; 5,0 ; 7,5 ; 10,0
- opcjonalnie pojemnik na łańcuch
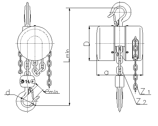
| Typ | Nośność (t) | Liczba pasm nośnych | Łańcuch CSN EN 818-7 (klasa wytrzymałości 8) | Łańcuch sterujący | Siła sterująca (N) | Prędkość podnoszenia 1 (m/min) | Wymiary (mm) | Masa (kg) | ||||
| a | d | D | e min | L min | ||||||||
| Z100 | 0,25 | 1 | 0 3,1 x 9,3 | 0 3 x 14,3 | 270 | 2 | 120 | 30 | 80 | 18,5 | 255 | 3,8 |
| Z100 | 0,5 | 1 | 0 5 x 15 | 0 4 x 20 | 300 | 1,1 | 165 | 30 | 115 | 18,5 | 250 | 10 |
| Z100-1 | 1 | 1 | 0 7 x 21 | 0 4 x 20 | 350 | 0,7 | 180 | 36 | 136 | 23,5 | 330 | 12,5 |
| Z100 | 1,6 | 1 | 0 9 x 27 | 0 4 x 20 | 320 | 0,36 | 220 | 43 | 198 | 29,5 | 410 | 25 |
| Z100-1 | 3,2 | 1 | 0 11 x 31 | 0 4 x 20 | 400 | 0,29 | 254 | 50 | 220 | 35,5 | 510 | 36,5 |
| Z100-2 | 5 | 2 | 0 11 x 31 | 0 4 x 20 | 400 | 0,145 | 254 | 56 | 220 | 39,5 | 655 | 57 |
| Z100 | 7,5 | 2 | 0 11 x 31 | 0 4 x 20 | 480 | 0,15 | 254 | 56 | 220 | 43 | 875 | 70 |
| Z100 | 10 | 3 | 0 11 x 31 | 0 4 x 20 | 400 | 0,1 | 254 | 63 | 220 | 47 | 1000 | 85 |
1)liczono przy założeniu 48 ręcznych wahnięć dźwigni za minutę.
(1 ruch dźwigni – z jednej skrajnej pozycji do drugiej)






